Engine Timing Tool Kit for Jeep / Chrysler / Lancia 3.0 V6
-
Code:116379
-
Weight:1.540 Kgs
Overview:
✔ Engine timing tool kit for 3.0 V6 diesel engines
✔ Suitable for Jeep, Chrysler and Lancia vehicles
✔ Designed for timing chain replacement
✔ Includes camshaft and crankshaft locking tools
✔ Ensures precise engine timing alignment
✔ Supplied in durable storage case
✔ Ideal for professional workshop use
This engine timing tool kit is designed for locking and aligning camshaft and crankshaft components during timing chain replacement on 3.0 V6 diesel engines.
It provides all essential tools required to perform accurate timing procedures safely and efficiently.
Compatibility
Suitable for:
- Jeep Grand Cherokee CRD with EXF VM23D engine (2011–2015)
- Jeep Grand Cherokee Multijet with EXF VM44D engine (2011–2015)
Also applicable for equivalent engines used in Chrysler and Lancia vehicles.
Functionality
The kit enables:
- Accurate locking of camshafts on both cylinder banks
- Secure crankshaft positioning during service
- Safe replacement of timing chain components
- Proper tensioner locking and adjustment
Contents
- Camshaft locking tool – right cylinder bank (as VM10338-1)
- Camshaft locking tool – left cylinder bank (as VM10338-2)
- Tensioner locking pins (as VM10359A)
- Crankshaft locking pin (as VM10339)
- Durable plastic storage case
OEM Reference
Designed for use as:
VM10338-1, VM10338-2, VM10359A, VM10339
Original numbers are used for comparison purposes only, this is not an original tool!
Camshaft Locking Tool (1) – Right Cylinder Head
This tool is used to lock the camshaft in the timing position. Ensure that all camshaft timing marks are aligned and that the tool pins fit into the rear of the sprockets as shown.
Camshaft Locking Tool (2) – Left Cylinder Head
This tool is used to lock the camshaft in the timing position. Ensure that all camshaft timing marks are aligned and that the tool pins fit into the rear of the sprockets as shown.
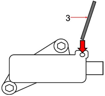
Timing Chain Tensioner Locking Pin (3)
This tool is used to lock both timing chain tensioners in the retracted position.
Install the camshaft and crankshaft locking tools, compress the pistons of both chain tensioners, and insert the locking pin as illustrated.
Crankshaft Locking Pin (4)
This tool is used to lock the crankshaft in the timing position. Install this tool as shown.
CHRYSLER 300C (09.2010 - 12.2012) 3.0 CRD (239 HP, 176 kW)
JEEP GRAND CHEROKEE IV (WK, WK2) (06.2010 - 12.2011) 3.0 CRD (243 HP, 179 kW)
JEEP GRAND CHEROKEE IV (WK, WK2) (06.2010 - 12.2011) 3.0 CRD V6 4x4 (190 HP, 140 kW)
JEEP GRAND CHEROKEE IV (WK, WK2) (06.2010 - 12.2011) 3.0 CRD V6 4x4 (218 HP, 160 kW)
JEEP GRAND CHEROKEE IV (WK, WK2) (06.2010 - 12.2011) 3.0 CRD V6 4x4 (241 HP, 177 kW)
JEEP GRAND CHEROKEE IV (WK, WK2) (06.2010 - 12.2011) 3.0 CRD V6 4x4 (250 HP, 184 kW)
JEEP GRAND CHEROKEE IV (WK, WK2) (06.2010 - 12.2011) 3.0 TD V6 4x4 (243 HP, 179 kW)
LANCIA THEMA (LX_) (09.2011 - 10.2014) 3.0 D (48, LX) (239 HP, 176 kW)
LANCIA THEMA (LX_) (09.2011 - 10.2014) 3.0 D (LX, 48) (190 hp, 140 kW)